続・エンジンフード(ボンネット)警告灯の作成(BMW E46)
続・エンジンフード(ボンネット)警告灯の作成(BMW E46)
先日こちらの記事で取り付けたボンネット警告灯ですが、メンテナンス後ボンネットロックをしない事が多いので役に立っています。しかし近所を走行した限りでは特に問題なかったのですが、先日、新東名120km/h区間を110km/hで走行すると走行中に警告灯が点灯してしまいました。110km/hで走行できる道路は限られますが、110km/h~になると少なからずボンネットが走行風で浮いているのは間違いないようようです。
一応、対策として
取り付けたフードスイッチがボンネットと当たる部分にグラスファイバーテープを使って2mm厚のABS板を張り付けてみましたが、今度はボンネットロックをしない状態でもランプが点灯しなくなってしまいました。これではボンネット警告灯の意味がありません。(苦笑)
このABS板の対策を行った事で、走行中に走行風によって数ミリボンネットが浮いていることを改めて認識しました。
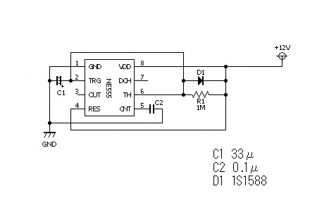
ボンネットが開いたらスイッチがオンになってACC電源でLEDが点灯するという単純な方法では対応出来そうにないので、ACC電源が投入されたら1分間ぐらいだけ電流を流すタイマー回路を組んで、エンジン始動時ボンネットロックがされていなかったら1分間ぐらい警告灯を点灯するようにしてみました。
まずはブレッドボードで試作してみました。
ボンネット警告灯用に購入したLEDは、
30mA程度流れるだけなので、タイマーIC、NE555(CMOS版では無理)で十分駆動出来ます。手持ちのコンデンサーを使用したので容量が限られてしまいましたが、タイマーICに電源が入ると約50秒間ぐらい電気を流すように回路を設計して、
実際に基盤にパーツと配線を実装。

手持ちのパーツで作成したのでかなり適当ですが、3ピンの出力をLEDと定電流ダイオードにそのまま接続しました。
回路はヒシチューブでシールドして、前回設置したボンネットスイッチに割り込ませるように配線を加工して無事完成しました。
これでエンジン始動(ACC電源がONになった)後、約50秒間のみ警告灯が手点灯するようになったので走行中にボンネットスイッチが走行風でオン・オフしても警告灯は点灯しなくなりました。実用的になるかな?
以上、「続・エンジンフード(ボンネット)警告灯の作成(BMW E46)」でした。

